Panel Support Systems
FIX-PA Facade panel support system is specially designed for the secure and fast installation of prefabricated concrete panels on to load bearing structures. This system consists of support and restraining elements.
The FIX-PA Panel brackets consist of upper section, centre section and special fitting which is cast in to the concrete panel. Depending on the load resistance and the fixing type to the structure, there are different types of an upper section. The standart upper section is fastened at the edge of the sub structure.
PA2 Brackets
PA2 brackets are available in different types to accommodate the installation parameters of the concrete panels. With these types, installation to the substrate can be done either on the edge of slabs or on top of the slab. The connection to the substrate can be made using anchor bolts or anchor channels.
BRA Parapet bracket
The parapet brackets are partially embedded into the precast concrete component, where the reinforcement is positioned along the precast concrete section. The clamping reinforcement is made of B500B as standard. For higher requirements on the concrete cover, B500A NR steel reinforcement can be used.
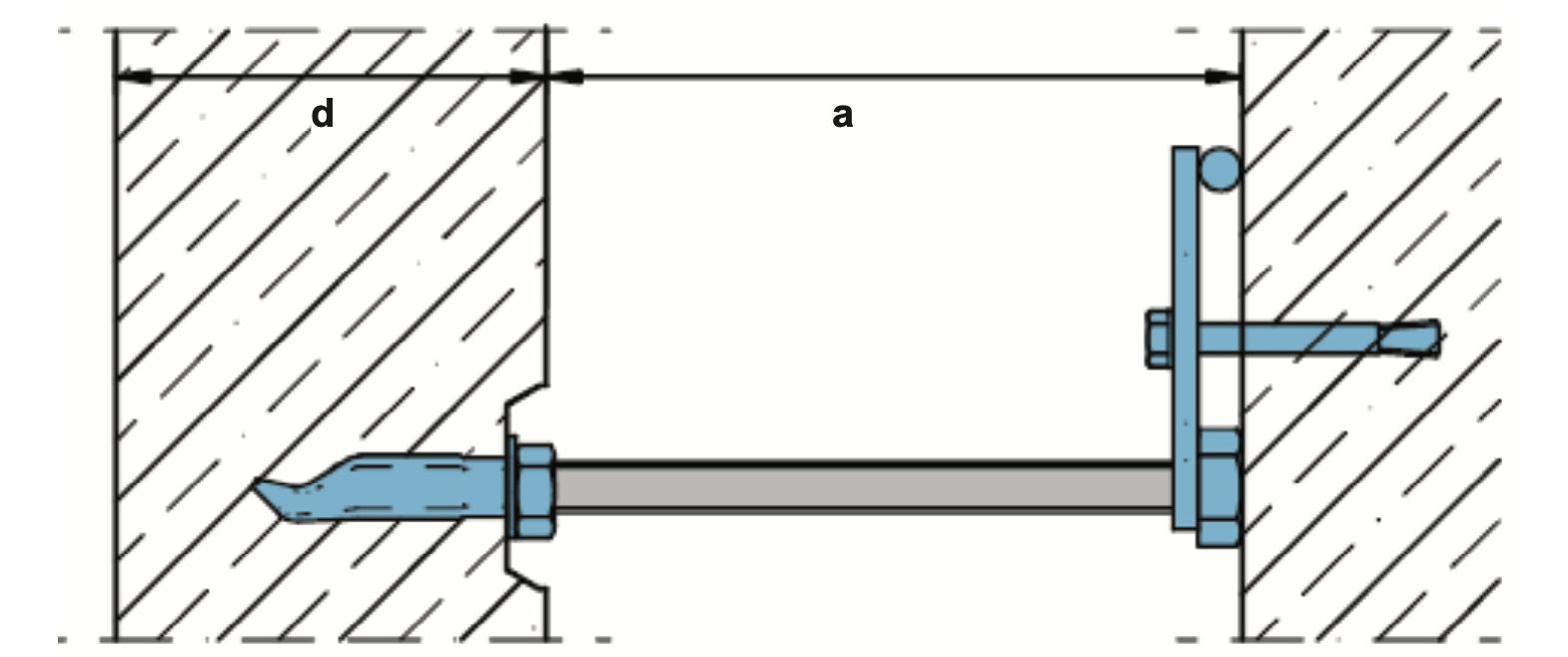
BR2 Restraint
The restraint brackets are designed to secure the panels against wind pressures. The brackets consist of set elements that enable connection into the panels by concrete inserts and an adjustable bracket that is fixed onto the substrate. A threaded stud that connects the bracket to the concrete insert extends up to 400 mm to accommodate the wall cavity.
PA2 Dowels
The panel fixing system includes a dowel component that connects each panel at the joints for interlocking and movement purposes. A stainless steel dowel is used, which fits within sleeves that are inserted into the edge of the concrete panels.
